Измерение и изменение параметров коаксиального кабеля.
В радиолюбительской практике часто возникает необходимость точно определить волновое сопротивление и коэффициент укорочения коаксиального кабеля. При наличии у радиолюбителя приборов, это сделать несложно.
Измерение Rкабеля.
Для измерения волнового сопротивления собирается схема Рис.1. длина отрезка кабеля может быть любой, но при её увеличении, увеличивается точность измерения. Резистор, обозначенный на схеме как R, любой миниатюрный непроволочный подстроечный резистор. Его максимальное сопротивление не более 100 ом. При включении прибора его органами управления необходимо добиться появления на его экране фигуры сходной с синусоидой, что говорит о том, что кабель не согласован с нагрузкой R и входное сопротивление цепи кабель+ R различно на разных частотах. При изменении сопротивления R, а точнее при его приближении к сопротивлению кабеля, амплитуда «синусоиды» уменьшается, а при их равенстве она, в идеале, превращается в прямую линию. Это говорит о том, что система кабель+ R теперь согласована и имеет одинаковое сопротивление на любой частоте. Добившись минимальной амплитуды синусоиды, подстроечник можно отпаять и измерить его сопротивление любым тестером, желательно цифровым. Для страховки, измерение необходимо повторить несколько раз и усреднить полученные значения сопротивления.

Измерение Ку.
Известно, что входное сопротивление разомкнутой на конце линии минимально, если эта линия имеет длину равную нечётному числу четвертей волны, умноженному на искомый коэффициент укорочения.
Для измерения коэффициента укорочения кабеля собирается аналогичная схема, но резистор R не припаивается, центральная жила и оплётка дальнего конца кабеля остаются свободными и, желательно максимально короткими. Длина отрезка кабеля тщательно измеряется.
На экране прибора появляется кривая, сходная с синусоидой, её пики соответствуют полуволновым резонансам этого отрезка кабеля. Между ними располагаются минимумы, соответствующие тем частотам, на которых длина кабеля равна четверти или нечётному числу этих четвертей волны, умноженных на Ку. Необходимо найти на какой минимальной частоте присутствует минимум «синусоиды». По известной формуле частота пересчитывается в длину волны. Далее, необходимо учетверённую длину отрезка кабеля разделить на полученную длину волны. Частное от деления и будет Ку данного кабеля.
Вообще то для измерения можно использовать и наиболее низкочастотный пик «синусоиды», соответствующий первому полуволновому резонансу, но в этом случае, длину отрезка перед финальным делением необходимо не учетверять, а удваивать. Кроме того, минимумы «синусоиды» более острые, что, видимо, объясняется нелинейностью вольтамперной характеристики детектирующего диода в пробнике.
В данном измерении, аналогичного результата можно добиться, применив вместо измерителя АЧХ ГСС и ВЧ-милливольтметр.
Изменение параметров коаксиального кабеля.
Часто в радиолюбительской практике возникает необходимость приобретения отрезков коаксиального кабеля с нестандартным сопротивлением. Например, для согласования 50-омной УКВ антенны с 75-омным кабелем необходим четвертьволновый отрезок кабеля с сопротивлением 61,2 ома. Приобрести его, естественно невозможно, но можно изготовить, а точнее доработать более доступный. Правда в этом случае может возникнуть необходимость в некоторых экспериментах. Проще всего доработке поддаётся кабель, внутренняя изоляция которого выполнена из слоёв фторопластовой ленты. С него необходимо аккуратно снять внешнюю изоляцию и стянуть экран, не сминая и не повреждая его. Для уменьшения волнового сопротивления кабеля необходимо смотать с него часть внутренней изоляции. Далее, необходимо временно одеть чулок оплётки. Так как после такой доработки он может лежать неплотно, его необходимо по всей длине примотать изолентой. При сильном уменьшении диаметра внутренней изоляции, может оказаться, что чулок оплётки уже не может плотно облегать изоляцию. В таком случае необходимо применить оплётку от другого кабеля, с меньшим диаметром. Теперь необходимо проверить величину получившегося волнового сопротивления, пользуясь схемой Рис.1. Если оказалось, что волновое сопротивление уменьшилось недостаточно, операцию придётся повторить.
Для финальной сборки кабеля изоленту использовать нежелательно, автор использовал полихлорвиниловую трубку. Вымоченная в ацетоне, она увеличивает свой диаметр и становится возможным быстро, но аккуратно одеть её поверх оплётки. По мере испарения ацетона её диаметр уменьшается, и она плотно обжимает оплётку. Вероятно, можно использовать и термоусадочную трубку.
Для увеличения волнового сопротивления кабеля, лента наоборот, доматывается на внутреннюю изоляцию, причём её желательно крепить в процессе домотки тонкими нитками. Увеличение волнового сопротивления – операция более сложная. Кроме того, для неё необходимо иметь запас фторопластовой ленты. Ку кабеля в процессе доработки практически не меняется.

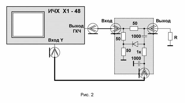
Панорамный 50-омный КСВ-метр на основе ИЧХ.
Имея в своей лаборатории ИЧХ, возможно использовать его и в качестве КСВ-метра. Для этого собирается несложная приставка – мостовой КСВ-метр. Автор использовал в этой конструкции резисторы МЛТ-0,125, причём резисторы 50 ом собирались из двух 100 омных. Диод применён типа ГД507 или Д18. В настоящее время желательно использовать SMD-компоненты, важно, чтобы размеры платы были минимальны, и она была экранирована. Сама плата крепится пайкой к экрану и к центральным выводам трёх байонетных разъёмов.
Настройка.
При подключении к выходному разъёму приставки резистора 50 ом, мост сбалансирован и продетектированное диодом напряжение равно нулю. Ручкой «вверх/вниз» прибора горизонтальная линия на экране устанавливается внизу экрана. Этот уровень будет соответствовать КСВ=1. При подключении к выходному разъёму резистора 150 ом или 16.66 ома, горизонтальную линию необходимо ручкой «усиление» установить в верхней части экрана. Этот уровень будет соответствовать, КСВ=3. (Можно выбрать и другой верхний предел КСВ.) Прибор готов к работе.
При подключении кабеля реальной антенны к прибору, на экране отобразится характеристика КСВ в желаемом диапазоне, выбираемом ручками «полоса» и «частота» прибора. Используются также частотные метки.
В процессе просмотра характеристик, особенно коротковолновых антенн, может оказаться, что характеристика «уплывает» вверх по экрану. Это связано с ВЧ-наводками на антенну со стороны всевозможных передающих средств. В этом случае необходимо между ИЧХ и приставкой включить небольшой дополнительный широкополосный усилитель мощности. При его мощности порядка 100 мвт, подобные наводки уже незаметны.
73!
Владимир Подольский.
UA4HLQ aka CADET
ua4hlq(at)mail.ru
| Глас народа |
|
19.09.2006 20:38 Действительно, больше похоже на модуль. Кстати использовал схему ... -- UA4HLQ 19.09.2006 13:36 "Кроме того, минимумы «синусоиды» более острые, что, видимо, объя... -- Vasya 19.09.2006 12:01 Использовал до 150 мгц, дальще и прибор не работает, но, вообще о... -- UA4HLQ 19.09.2006 07:28 Интересно узнать практический потолок по частоте, такой головки и... -- ua4hvs |