Передатчик второй категории
Коротковолновыи передатчик второй категории должен быть сконструирован с расчетом работы в любительских 160-, 80-, 40- и, 20-метровых диапазонах и возможности настройки его на любую из частот в пределах разрешенных диапазонов. Количество каскадов у такого передатчика должно быть не менее пяти.
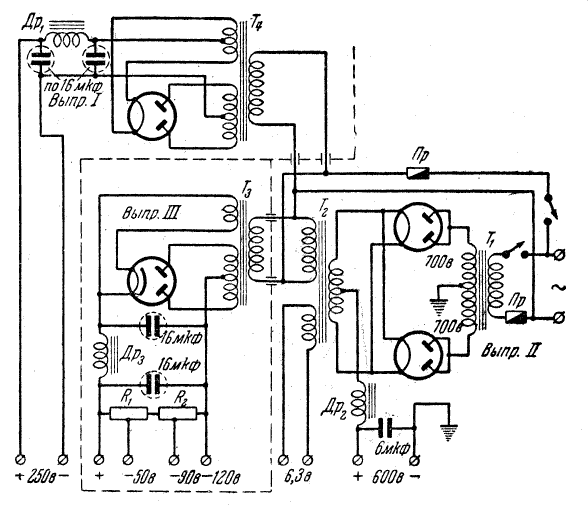
Принципиальная, схема передатчика второй категории приведена на рисунке.

В задающем генераторе передатчика применена схема с электронной связью с ненастроенной нагрузкой в цепи анода. Она допускает применение кварцевой стабилизации. Переход от плавного диапазона на кварцевую стабилизацию осуществляется переключателем П1.
При постройке передатчика надо уделять особое внимание задающему генератору, который должен при работе с плавным перекрытием диапазона обеспечивать высокую стабильность частоты и хорошее качество тона. Рабочие частоты задающего генератора лежат в пределах 160-метрового любительского диапазона. В задающем генераторе описываемого передатчика приняты следующие меры стабилизации частоты:
лампа задающего генератора поставлена в легкий режим;
в колебательных цепях используются высококачественные детали;
во внутреннем колебательном контуре LiCi применена большая общая емкость;
предусмотрена термокомпенсация;
напряжения, подводимые к экранирующей сетке и аноду лампы, стабилизированы.
Для получения высокой стабильности тона телеграфных сигналов необходимо стабилизировать отдельно анодное и экранное напряжения. Для стабилизации анодного напряжения можно применять стабилизатор СГ4С, а для экранного напряжения— СГ2С.
Кроме указанных мер, задающий генератор должен быть тщательно экранирован, для чего его лучше поместить в сплошной экран. Экран по своей конструкции должен быть массивным, герметичным и иметь надежные электрические контакты между отдельными частями и шасси передатчика.
После задающего генератора идут три каскада предварительного усиления, работающие как умножители частоты. Эти каскады участвуют в работе только на 20-метровом диапазоне. При работе на 40-метровом диапазоне последний предварительный каскад выключается, а при работе на 160-метровом диапазоне остается включенным только один первый из предварительных каскадов, причем в этом случае он работает в режиме усиления. Необходимость специального буферного каскада здесь исключается благодаря применению в задающем генераторе схемы с электронной связью. В колебательном контуре первого промежуточного каскада обеспечено четырехкратное перекрытие по частоте за счет дополнительного конденсатора постоянной емкости, включаемого в контур параллельно при переходе на 160-метровый диапазон. В промежуточных каскадах лучике всего применять лампы типа 6П6С.
Выходной каскад передатчика работает на лампе Г-807 и развивает в контуре мощность до 40 вт, что обеспечит при хороших контурах получение разрешенной любителям этой категории мощности.

1959г.