Приборы для настройки КВ и УКВ антенн.
Каждая антенна имеет свою собственную резонансную частоту, на которой она излучает или принимает максимум энергии. На этой частоте полковое сопротивление антенны имеет активны и характер. Линия, подводящая энергию к антенне на резонансной частоте, должна иметь малые потери и не должна излучать. Это достигается при условии, когда входное сопротивление антенны paвно волновому сопротивлению линии, а последнее - входному сопротивлению приемника или передатчика.
На практике входное сопротивление антенны часто отличается от волнового сопротивления линии. Поэтому для согласования антенны с линией приходится использовать специальные согласующие приспособления. Чем сложней конструкция антенны, тем труднее бывает учесть все факторы, влияющие на входное сопротивление антенны, и проверку настройки антенны приходится производить с помощью тех или иных приборов.
Помимо индикаторов напряжения, радиолюбители применяют различные индикаторы тока. Большинство индикаторов рассчитаны на измерения в открытых линиях. Коэффициент стоячей волны определяется отношением напряжения (или тока) в пучности, к напряжению (или току) в узле.
На рис. 1 показана принципиальная схема подобного моста. Величины сопротивлений R1 и R3 равны между собой.
Если линия согласована правильно и сопротивление R3 равно волновому сопротивлению линии, мост будет сбалансирован, и высокочастотный вольтметр, включенный в диагональ моста, покажет нуль.
Однако если линия не согласована с нагрузкой, показания вольтметра не будут равны нулю. Зависимость между коэффициентом стоячей волны и показаниями вольтметра показана на рис- 2.
Передающая антенна считается хорошей, если коэффициент стоячей волны не превышает 2. Объясняется это тем, что уменьшение мощности в нагрузке с изменением величины нагрузочного сопротивления происходит не резко, и поэтому некоторое отступление от режима бегущей волны допустимо.
Принципиальная схема моста для измерения коэффициента стоячих волн приведена на рис, 3. Вид на монтаж этого прибора показан на рис. 4 и 5. Сопротивления R1, R2 и R3 совместно с волновым сопротивлением фидера образуют мост. Фидер подключают к гнезду “Линия”. К коаксиальному гнезду "Вход" подводят напряжение высокой частоты от генератора. Колебания, подводимые к мосту, выпрямляются германиевым диодом. Постоянное напряжена измеряется с помощью вольтметра включенного в гнезда "+Вход" и "—" .
Прибор смонтирован в футляре размерами 75х50х45 мм.

Для налаживания подают от генератора к мосту такое напряжение высокой частоты, чтобы стрелка вольтметра, включенного п диагональ моста, отклонилась до сотого деления. Затем подключают вольтметр к гнездам “+Вход” и “—” и измеряют подводимое напряжение. После этого выход моста замыкают и регулируют подводимое напряжение до прежней величины. После этого вольтметр снова включают в диагональ моста, при этом стрелка вольтметра должна отклониться до сотого делепня. В противном случае нужно подобрать сопротивления R1 и R2. Проверку производят на самых высоких частотах, на которых будет применяться мост, например на частоте 146 Мггц. Если аналогичная проверка на более низких частотах покажет, что расхождение между величинами R1 и R2 меньше, чем на частоте 146 Мггц, это будет означать, что паразитные индуктивные связи в одном плече не сбалансированы с такими же связями в другом. При этом нужно уточнить взаимное расположение сопротивлений R1 и R2.
Затем включают в коаксиальное гнездо “Линия” безиндукционное сопротивление 75 oм. При этом вольтметр, включенный в диагональ моста, должен показывать нуль на всех частотах.
Отклонение стрелки, не изменяющееся во всем диапазоне частот, указывает на то, что вспомогательное сопротивление, включенное в клеммы “Линия”, не равно R3. При наличии паразитных связей между деталями моста показания вольтметра изменяются с частотой. После этого следует проверить, соответствует ли величина сопротивления R3 волновому сопротивлению применяемого коаксиального кабеля, для этого вспомогательное сопротивление поочередно соединяется с мостом с помощно отрезков кабеля различной длины. При всех частотах и всех длинах кабеля стрелка вольтметра не должна отклоняться. В противном случае изменяют величину сопротивления R3 и проверку моста с отрезками кабеля повторяют снова. Допустимо отклонение стрелки на несколько делений от нуля.
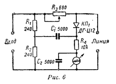
На рис 6 показана принципиальная схема моста, позволяющего сделать непосредственный отсчет величины измеряемого волнового сопротивления.
На рис. 7 показан вид на монтаж этого прибора. Мост снабжен собственным индикатором чувствительностью в 100 мка.
В качестве переменного сопротивления использовано сопротивление типа СП, у которого снята укропная крышка. Так как обычно волновые сопротивления имеют величину от 30 до 300 ом, в большинстве случаев можно применить сопротивление R3 величиной в 680 ом. Если нужно измерить более высокое волновое сопротивление, то последовательно с переменным сопротивлением R3 включают дополнительное бзиндукционное сопротивление.
При измерениях на коротких волнах. т. е. до частот 30 Мггц,, нет необходимости в экранировке сопротивления R3. При более высоких частотах сопротивление Р3 экранируется с помощью поперечной перегородки. Ось сопротивления удлиняется с помощью втулки из изолирующего материала.
При постройке прибора необходимо следить за тем, чтобы соединительные провода были по возможности короче и имели по возможности одинаковую длину, с тем чтобы их собственные емкости и индуктивности были минимальными и одинаковыми.
С. Хазан. "Радио" N5, 1956г.