Усилитель мощности - приставка к синтезатору
Dipl.-Ing. H. Kuhnt – Y23FL
Оригинал статьи см. журнал FUNKAMATEUR № 11, 1988 г, стр.556…558
Описываемые здесь малогабаритные усилители мощности позволяют довести уровень выходного сигнала синтезатора [ 1 ] до 0,5 или 15 Вт, причём, выходная мощность может устанавливаться, в этих пределах, по желанию. Поскольку усилители мощности работают в линейном режиме, то могут использоваться и для усиления SSB сигналов. В будущем журнал собирается опубликовать ещё и приёмную часть на 2-метровый диапазон (ЧМ супергетеродин с одним преобразованием частоты с ПЧ 10, 7 МГц) и системную плату (питание, генератор тонального вызова, переключатель приём-передача), которые, вместе с синтезатором и РА (описываемым здесь) образуют полнокомплектный УКВ трансивер, конструкция которого также будет рассмотрена на страницах журнала.
Принципиальная схема предусилителя мощности (драйвера).
Предварительный усилитель (Рис. 1) предназначен для усиления мощности сигнала, поступающего с выхода передатчика синтезатора, до 500…700 мВт. Как и оконечный усилитель, предусилитель работает в линейном режиме и может быть использован в составе SSB аппаратуры.

Рис.1. Предусилитель мощности. Схема принципиальная электрическая.
В первом каскаде предусилителя используется двухзатворный МОП-транзистор, который усиливает поступающий на входной контур сигнал с синтезатора, последний, при этом, трансформируется входным контуром для согласования с высоким входным сопротивлением МОП-транзистора. Усиление этого каскада может устанавливаться в широких пределах, этим можно не только регулировать усиление всего тракта РА, но и устанавливать достаточную выходную мощность РА в целях экономии энергии источника питания. Два последующих каскада предусилителя работают в линейном режиме и доводят уровень выходной мощности передающего тракта до приемлемых на практике значений. Токи покоя всех трёх транзисторов поддерживаются стабильными благодаря делителям напряжений в цепях затворов/баз и резисторов в цепях эмиттеров, а рабочие точки определяются падением напряжений на них. При подаче раскачки от синтезатора на вход предусилителя коллекторные токи транзисторов VT2 и VT3 увеличиваются, что ведёт к увеличению падения напряжения на резисторах в соответствующих эмиттерных цепях, значения падений напряжений на них, в этом случае, приведены в скобках. При измерениях на вход предусилителя подавалось РЧ напряжение 70 мВ, при этом, на его выходе получалась мощность примерно 700 мВт.
Конструкция и настройка предусилителя.
Предусилитель смонтирован на печатной плате из односторонне- фольгированного стеклотекстолита размерами 85 х 37,5 х 1,5 мм (Рис. 2).

Рис.2. Предусилитель мощности. Эскиз монтажной платы (печать).
Несмотря на большую плотность и количество установленных на ней деталей, плата содержит, в основном, “заземлённую” поверхность “нулевой” “корпусной” шины питания. Плата опаяна полосой белой жести шириной 35 мм толщиной 0,3…0,5 мм, которая служит экраном. Плата со стороны печатных проводников “утоплена” в экран примерно на 7 мм и тщательно припаяна к нему по всему периметру. Перед впаиванием платы следует просверлить отверстия в экране под проходные конденсаторы и коаксиальные гнёзда (или для прохода коаксиальных кабелей, если соединители не предусматриваются). Для подключения питающих и управляющих напряжений используются проходные конденсаторы, которые проходят через стенку экрана в нижней его части (места установки конденсаторов см. на Рис.3).
Транзистор VT3 установлен на плате винтом в отверстие диаметром 7,5 мм в монтажной плате и припаян к соответствующим её проводникам выводами эмиттера, укороченными до 4 мм. Монтажный винт транзистора укорочен до 4 мм, на него одет широкий лепесток с шириной язычка 4 мм, прижатый навёрнутой на винт гайкой с шайбой. Лепесток припаян к фольге общего провода платы, другие меры по отводу тепла не нужны и не применялись, одновременно корпус транзистора надёжно электрически “заземлён”. РЧ соединения блока осуществляются через отрезки 3 мм коаксиального кабеля, непосредственно, или с применением миниатюрных РЧ соединителей 1/3,3; TGL 200-8080.

Рис.3. Предусилитель мощности. Эскиз расположения деталей на монтажной плате.
Подстроечные конденсаторы С3, С7 и С9 имеют внешний диаметр 7 мм, остальные - 10 мм. Все развязывающие конденсаторы следует самыми короткими выводами распаять на плате, согласно шага координатной сетки 5 мм. В качестве транзистора VT2 можно использовать также KWF16 или BWF16, а с небольшим снижением усиления - 2N3866. Транзисторы VT1 и VT2 на плате расположены так, чтобы обеспечить их соединение со схемой кратчайшими выводами. Имея под рукой эскиз расположения деталей на монтажной плате (Рис.3) и моточные данные катушек, можно довольно легко повторить предварительный усилитель. Из-за плотного монтажа резисторы смонтированы стоя.
Настройка и согласование довольно просты: на выход предусилителя подключается нагрузочное сопротивление 50 или 75 Ом. Вход UR соединяется с положительным полюсом источника питания. При поданном на вход предусилителя РЧ напряжении 50…100 мВ частотой 145 МГц, вращая роторы всех подстроечных конденсаторов, следует добиться максимальной выходной мощности. При испытании образца предусилителя не было отмечено ни склонности к самовозбуждению, ни ухудшения стабильности выходной мощности.
Данные катушек предварительного усилителя мощности:
- L1 - 5 витков посеребрённым медным проводом диаметром 0,7 мм, бескаркасная, на оправке диаметром 5 мм, длина намотки 8 мм, выводы отогнуты под углом 90 градусов, расстояние от изгиба до изгиба 12 мм, отвод от 1 витка от “холодного” конца катушки;
- L2 - 4 витка посеребрённым медным проводом диаметром 0,7 мм, бескаркасная, на оправке диаметром 5 мм, длина намотки 10 мм, отвод от 1 витка от “холодного” конца катушки;
- L3 - 3 витка посеребрённым медным проводом диаметром 1 мм,
- бескаркасная, на оправке диаметром 6 мм, длина намотки 7 мм, выводы отогнуты под прямым углом, расстояние от изгиба до изгиба 10 мм;
- L4 - 3 витка обмоточным медным проводом диаметром 0,7 мм, бескаркасная, на оправке 6 мм, длина намотки 5 мм, выводы отогнуты под прямым углом, расстояние от изгиба до изгиба 12, 5 мм;
- L5 -3 витка посеребрённым медным проводом диаметром 1 мм, бескаркасная, на оправке диаметром 6 мм, длина намотки 7 мм, выводы отогнуты под прямым углом, расстояние от изгиба до изгиба 12,5 мм;
- LDr1 - УКВ дроссель индуктивностью 4 мкГн;
- LDr2 - 10 витков обмоточным проводом диаметром 0,4 мм, бескаркасный, на оправке диаметром 4 мм.
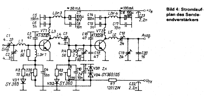
Схема оконечного усилителя мощности.
Оконечный усилитель повышает уровень мощности, получаемой от предварительного усилителя (кстати, уже достаточный для проведения радиосвязей) до уровня, пригодного для мобильной связи, примерно 15 Вт. В оконечном РА использованы два каскада на транзисторах с питанием от бортовой сети 12 В, например, автомобиля (Рис. 4).

Рис.4. Оконечный усилитель мощности. Схема принципиальная электрическая.
РЧ согласующие звенья между каскадами не имеют особенностей и довольно просты в исполнении. Как было раньше отмечено и этот РА работает в линейном режиме, что позволяет, кроме ЧМ, усиливать и SSB сигналы. Для стабилизации токов покоя коллекторов используется двойная диодная стабилизация. VD3 и VD4 поддерживают напряжение, примерно, 1,55 В, практически, независящее от колебаний питающей сети (вместе с резистором R7 образуют параметрический параллельный диодный стабилизатор напряжения с использованием переходов диодов в прямом включении в качестве стабилитронов). С помощью дальнейших низкоомных делителей получаются напряжения базового начального смещения транзисторов, которые термокомпенсированы диодами VD1 и VD2, имеющими температурный контакт с соответствующими транзисторами и позволяют поддерживать постоянными токи покоя транзисторов вне зависимости от температуры транзисторов и их радиаторов. Если РА предназначен только для ЧМ, цепи подачи положительного базового смещения могут отсутствовать. При этом “холодные” концы R1 и LDr1, а также R4 и LDr2 следует соединить с общим проводом. При этом следует также учесть, что усилитель в классе “С” даёт больший уровень высших гармоник, чем линейный. На кпд усилителя его перевод в класс “С” влияет мало (влияние сильно заметно лишь при увеличении выходной мощности усилителя и его работе в паузах передачи, но тогда РА, обычно, выключен). Подводы коллекторного питания транзисторов тщательно развязаны с помощью блокировочных конденсаторов и дросселей, это позволяет избежать различного рода завязок каскадов через общий источник, особенно, при линейном режиме работы РА.
Конструкция оконечного усилителя мощности.
РА выполнен на плате из фольгированного стеклотекстолита размерами 100 х 62,5 х 1,5 мм. Как и предусилитель, этот блок опаян полосой белой жести шириной 35 мм по периметру, жесть припаяна к “обшей” фольге платы с “подвалом” со стороны проводников в 8 мм.

Рис.5. Оконечный усилитель мощности. Эскиз монтажной платы (печать).
На радиочастотах целесообразно использовать фольгированный с двух сторон материал монтажной платы, причём, фольга со стороны установки деталей используется в качестве экрана и общего провода, а соединения с противоположной стороной платы целесообразно осуществлять в области эмиттерных выводов транзисторов. В упомянутых местах следует установить 2 мм пустотелые заклёпки или, в крайнем случае, произвести соединения отрезками лужёного провода и тщательно пропаять с обеих сторон. Отверстия со стороны установки деталей для прохода выводов, не соединённых с общим проводом, зенкуются, так чтобы диаметр площадки без фольги был примерно 3 мм. Для испытаний был изготовлен экземпляр усилителя на односторонне-фольгированной плате, заметных ухудшений в его работе, по отношению к усилителю на двухсторонне-фольгированной плате, не выявлено. В качестве перемычек между верхней и нижней фольгой общего провода использовались отрезки посеребрённого медного провода диаметром 1,3 мм (их легко отыскать на Рис. 6), перед монтажом транзисторов их полосковые выводы укорачивают до длины 4 мм (предварительно не забыв отметить, где коллектор, где база).

Рис.6. Оконечный усилитель мощности. Эскиз расположения деталей на монтажной плате.
При монтаже выводы транзисторов следует припаивать параллельно плате и радиатору, а ещё лучше, сначала лишь “прихватить” транзисторы с небольшим количеством припоя за противоположные выводы, а после крепления (в том числе к радиатору), - окончательно запаять все их выводы. Этим снимаются механические напряжения, которые при смене температуры могут разрушить транзистор. После впаивания транзистора никаких механических усилий к нему прилагать не следует (при заворачивании гайки крепления к радиатору, следует создать механический противовес, чтобы не испортить транзистор, случайно провернув его). [Ещё лучше, сначала выполнить все механические крепления транзисторов, например, к радиатору и радиатора к плате, а уж затем распаивать выводы транзисторов]. Из-за высоких РЧ напряжений в качестве С9, С18 и С19 следует применять подстроечные конденсаторы только с воздушным диэлектриком (можно вакуумные, но они громоздки), остальные - керамические диаметром 10 мм. В качестве проводящих РЧ керамических конденсаторов С3, С12, С13, С20 следует использовать таковые с диаметром от 8 до 12 мм. Выводы всех проводящих РЧ и развязывающих конденсаторов должны быть максимально укорочены (конечно же в разумных пределах и пайку таких конденсаторов нужно вести быстро, с использованием легкоплавких припоев и теплоотводов). Питание блока производится через проходные конденсаторы, отверстия для которых в жестяной опайке платы следует просверлить заранее. С21,VD3, VD4 и R7 смонтированы навесным монтажом на стороне проводников вблизи конденсатора С22. Диоды VD1 и VD2 смонтированы в приготовленных для них креплениях (например, медных радиаторах от транзисторов GC301 или других, подогнанных под диоды SY360), навёрнутых на винты крепления для обеспечения теплового контакта с соответствующими транзисторами. В авторском варианте охлаждение транзисторов в РА осуществлялось посредством алюминиевой пластины шириной 80 мм и толщиной 3,5 мм. Эта пластина свёрнута винтами во многих местах (для обеспечения лучшего контакта) с задней стенкой УКВ трансивера, которая также имеет толщину 3,5 мм. Для настроечных целей следует к блоку предусмотреть присоединение радиатора размерами 80 х 200 х 3 мм. К этому радиатору прикручиваются транзисторы РА и диоды VD1 и VD2. Белая жесть опайки блока для удобства крепления радиатора может быть “фигурно” вырезана.
Данные катушек оконечного усилителя мощности:
- L1, L3, L6 - 4 витка посеребрённым проводом диаметром 1 мм, бескаркасная, на оправке диаметром 6 мм;
- L2, L4 - 5 витков посеребрённым проводом диаметром 1 мм, бескаркасная, на оправке диаметром 6 мм;
- L5 - 3 витка посеребрённым проводом диаметром 1 мм, бескаркасная, на оправке диаметром 6 мм;
- LDr1, LDr2 - УКВ дроссели индуктивностью 10 мкГн;
- LDr3, LDr4 - 10 витков обмоточным проводом диаметром 0,5 мм, бескаркасные, на оправке диаметром 2,5 мм.
ФНЧ:
L1, L2 - 3 витка посеребрённым медным проводом диаметром 1,5 мм, бескаркасные, на оправке диаметром 7 мм, длина намотки 7 мм.
Литература:
Büttig, H., Y27DL; Dr. Zimmerhackl, M., Y21DL: PLL- Syntheseoszillator für 144-MHz-FM-Geräte, FUNKAMATEUR 35 (1986), H. 9 S. 441 bis 444
2. Büttig, H., Y27DL; Dr. Zimmerhackl, M., Y21DL: Nachtrag zum
„PLL-Syntheseoszillator“, FUNKAMATEUR 36 (1987), H. 8, S. 386
3. Rothammel, K., Y21BK: Antennenbuch, 10. Ü0berarbeitete Auflage,
Militärverlag der DDR, Berlin 1984, S.591 ff.
Свободный перевод с немецкого: Виктор Беседин (UA9LAQ)
Приложение: поскольку сопровождающие текст перевода схемы выглядят красиво только в цвете (такими они были отсканированы из журнала в формате .bmp) и тонут в сером фоне при печати на нецветных принтерах, автор перевода решил от серого фона избавиться: открыл файл со схемой .bmp в DJVUSolo (при открытии, внизу выберите правильно тип файла), затем, входим в меню “Файл” и выбираем опцию “Encode as DJVU”. На появившейся инструментальной панели устанавливаем максимальное разрешение в диапазоне от 50 до 1200 dpi (в зависимости от желания получить конечную чёткость изображения при его увеличении (Zoom In) и наличия свободного места на жёстком диске (чем больше число dpi, тем больше рисунок “съест” свободного места). Тип рисунка следует установить Bitonal. После открытия, теперь чёрно-белого рисунка следует установить его масштаб как один к одному (One To One) и сохранить рисунок через меню Файл и опцию Save As…Это позволит Вам только сохранить рисунок без тональной подложки, но вставить его в Word’овский файл не удастся. Однако, выход из положения есть: следует в меню Файл DJVU’ера выбрать опцию “Export Page”, сохранить файл в формате .bmp. Затем, используя меню Вставка, выбрать опцию “Рисунок из файла” и вставить в открытый Word’овский файл, в место, где стоял текущий курсор. Эта процедура обработки изображений от фона отнюдь не единственная, но я применил её как первую попавшуюся на месте и привожу полученные результаты, в виде вышеприведённых принципиальных схем, но очищенных от фона, что позволит печатать схемы без фона на чёрно-белых принтерах. Такую же процедуру следует провести и с чёрно-белыми схемами, которые печатаются с растром (долго печатаются и растровая сетка не нужна), освободить, например, схему от растра можно вышеприведённым способом и напечатать её прямо из DJVU. Сравните: и Вы скажете, что я принял правильное решение, снабдив перевод статьи Приложением.

Рис.1. Предусилитель мощности. Схема принципиальная электрическая.

Рис. 4. Оконечный усилитель мощности. Схема принципиальная электрическая.
В Word’овском файле же делайте с импортированными рисунками всё что угодно: меняйте их размеры, производите обрезку ненужного, печатайте в нужном масштабе… Некоторая грязь после удаления фона всё-таки остаётся, но, что поделаешь, остальное требует скрупулёзной работы.
С Уважением В. Беседин,
UA9LAQ ua9laq@mail.ru
г. Тюмень май, 2002 г
| Глас народа |
|
10.01.2005 00:34 Отзовитесь, ктоо повторил эту конструкцию!
Если использовать эт... -- |