Разработка малошумящих блоков питания
Трёхвыводные стабилизаторы напряжения LM317/LM337 широко используются в аппаратуре. В их технических характеристиках значится, что они при работе выдают и шум с действующим значением (RMS) около 500 мкВ. Многие считают их за это малошумящими. Шумы бывают разные. Так некоторые блоки питания компъютеров имеют вентиляторы, которые называют малошумящими (подумаешь, маленький “малошумящий” “кулер”). А вот в этой статье речь пойдёт о низком уровне э л е к т р и ч е с к о г о шума в блоках питания.
Зачем же нужны малошумящие блоки питания? Измерительный усилитель на микросхеме INA103 может быть использован при коэффициенте усиления 2000 (66 дБ) и при этом имеет уровень шумов 1 нВ/√Гц (по отношению ко входу). На частоте 10 кГц этот усилитель подавляет шумы на 90 дБ. Разность 24 дБ. Десять мВ (RMS-действующего значения) фона и шумов блока питания на выходе INA103 превращаются в этой ситуации в 0,63 мВ (RMS) - 1,78 mVpp. Конечным результатом присутствия шумов является исчезновение в них “деталей” звуковой программы, например, и уменьшение динамического диапазона. Итак, если вы хотите получить качественный аудио (или любой другой аналоговый) сигнал, позаботьтесь о малошумящем блоке питания.
Самым малошумящим источником питания является гальваническая батарея (а точнее, гальванический элемент, из которых эта батарея состоит – UA9LAQ). Электричество вырабатывается в результате химической реакции, которая протекает только тогда, когда батарея нагружена (ток вытекает или втекает). В эту реакцию включено очень большое число молекул с небольшой кинетической энергией и, в результате, получается очень-очень небольшой уровень шума. Из пары элементов от фонарика может получиться неплохой малошумящий источник питания с уровнем шумов меньше одного мкВ и тут ничего не попишешь. Если энергия вытекает из батареи, то напряжение на её выводах изменяется (степень изменения зависит от её химического состава, а их может быть много). Вместе с разрядом батареи повышается её внутреннее сопротивление (импеданс) и растут шумы. Выбор напряжения питания также зависит и от того, сколько элементов Вы сможете включить в батарею последовательно (например, 10 элементов по 1,5 В дают 15 В питающего напряжения.), но при этом возрастает вероятность отказа всей батареи, если откажет один элемент.
Из заряжаемых элементов (аккумуляторов) получаются неплохие, но тяжёлые и громоздкие малошумящие источники питания, их нужно во время и аккуратно заряжать, а расстройство, что они могут отказать в самый критический момент не покинет Вас никогда.
Следующим шагом может послужить, время от времени, подкачка энергией от внешнего источника питания тем же аккумуляторам, чтобы они дольше не разряжались (однако, такой режим работы аккумуляторов приводит к уменьшению их ёмкости, другое дело: работа сетевого источника питания с постоянно подключенным “ в буфере” аккумулятором - UA9LAQ). Этот внешний источник питания вносит свою порцию шумов в довесок к шумам Вашего источника питания, но батарея, путём своего малого импеданса стабилизирует напряжение (и несколько “нейтрализует” вносимые шумы – UA9LAQ). Тщательно выполненный, с малошумящим источником тока, такой источник питания с уровнем шумов и фона менее 10 мкВ может быть вполне отличным со сроком службы батарей примерно равным сроку их хранения (3…5 лет). Но…проблематично создать малошумящий источник тока.
Если бы было возможно значительно снизить уровень шумов источника тока, то батарею можно было бы заменить резистором. А это бы съэкономило кучу денег, потраченных на батареи. Но у резистора, как правило больше сопротивление, чем импеданс у батареи на её выводах, а, значит, и больше шум.
Чтобы обойти проблему выходного (внутреннего) импеданса, нужно сделать эмуляцию батареи (заменить её) устройством, которое бы вносило эквивалентный батарее импеданс, подключенный к источнику тока. Самым простым и наиболее часто употребляемым на практике примером этого устройства является знакомый нам стабилитрон. Типичный средний стабилитрон в этом режиме даёт выходной импеданс примерно в десять раз больший, чем (также средняя) батарея, да ещё и вносит свои специфические шумы (эффект Зенера и др., в процессе задействовано намного меньше молекул, чем в батарее (каждый носитель имеет поэтому большую кинетическую энергию и создаёт больший шум - UA9LAQ)). Но стабилитрон - всё-таки, выход из положения. Опорный элемент LT1236 фирмы Linear Technology даёт 5.000 или 10.000 В с уровнем шума всего около 3 мкВ. С помощью этого опорного элемента можно получать до 15 мА тока, если Вам необходимо получить ток, скажем, 10 мА при одном из выше обозначенных напряжений, то проблема уже решена. Для других напряжений и больших токов Вам уже необходим малошумящий усилитель мощности.

Рис.1.
На Рис. 1 в базовой схеме опорный элемент LT1236 питается через источник тока LM334, а усилитель управляется током нагрузки опорного элемента. LM334 по паспорту необходим (по крайней мере) 1 В между выводами “+” и “-”, а ток через источник задаётся величиной сопротивления резистора, подключаемого к выводу ADJ. Источник тока фактически здесь не нужен, источник тока не совсем “тихий” (шумит), однако,шум подавляется LT1236. На выходе LT1236 имеется широкополосный шум порядка 3 мкВ. Усилитель мощности способен отдавать ток в нагрузку, но не может его снижать, так как предполагается, что нагрузка, в любом случае, маломощная (речь, видимо, об отсутствии защиты от КЗ и перегрузок по току - UA9LAQ). В некоторых источниках питания такое снижение (ограничение) тока предпочтительно. Малошумящий полевой транзистор U310 выполняет роль управляемого напряжением источника тока и требует, чтобы напряжение на его истоке было на 2 В больше (положительнее), чем на затворе. Если напряжение на истоке увеличится, то ток через U310 уменьшится и наоборот. Этот ток проходит через резистор в 1 ком и “превращается” в напряжение на затворе Р-канального полевого транзистора IRF9530. Этому транзистору необходимо, чтобы на его затворе напряжение было на 2-3 В более отрицательно, чем на истоке, чтобы начать проводить ток, а это означает, что U310 должен пропускать через резистор своей нагрузки в цепи стока (1 ком) ток в 3 мА. IRF9530 является источником тока для выхода. Импеданс источника тока высок (?), так что шумы и фон входящего постоянного тока уменьшаются. Обратная связь ещё больше их уменьшает.
IRF9530, как и другие полевые транзисторы этого типа состоят из тысяч параллельных МОП ячеек, соединённых впараллель. Шум каждой ячейки высок, а усиление - мало, при параллельном соединении тысяч ячеек общий шум снижается, а усиление растёт. У полевого транзистора U310 уровень шума, возможно, ниже (4…5 нВ/√Гц). Данные по шумовым параметрам мощных МОП транзисторов трудно найти, так как, они, в основном, применяются в импульсных режимах. Я же на Рис. 1 привожу МОП ПТ, работающий в линейном режиме.
У каскада усилителя мощности в действительности два входа: выход опорного элемента, соединённый с затвором ПТ U310 и выход БП, соединённый с истоком этого же транзистора. Вход с источника опорного напряжения “тихий” (малошумящий) и U310 усиливает его сигнал в схеме с общим истоком. Выход БП относительно “шумный” и сигнал с него усиливается U310 в схеме с общим затвором. U310, в силу своей высокоомности, практически не нагружает источник опорного напряжения и является относительно низкоомной нагрузкой для выхода БП. Это обстоятельство как нельзя лучше подходит для нашего случая: источник опорного напряжения работает лучше, если он слабо нагружен и выходной импеданс - низкий при минимальной нагрузке выхода (примерно 5 мА или чуть больше, это, примерно, тот ток, при котором следует правильно эксплуатировать U310 в этой схеме). Любое изменение напряжения на любом из вышеупомянутых двух входов отразится на напряжении затвор-исток U310 и сменит ток его стока. Изменившийся ток стока, в свою очередь, изменит напряжение, прилагаемое к затвору МОП ПТ. Шум на выходе БП со входа стабилизатора и шум обоих ПТ подводятся, благодаря ПТ, в противофазе и эта обратная связь помогает подавлять шум на выходе БП.
Наибольшее усиление в комбинированном усилителе мощности приходится на МОП ПТ: 3,7S. Другими словами: изменение напряжения затвор-исток на 1 В даёт изменение тока стока на 3, 7 А. У U310 усиление составляет 10 mS (0,01 S), что означает, при изменении напряжения затвор – исток на 1 В, ток стока ПТ изменяется на 10 мА. Резистор, включенный в цепь затвора МОП ПТ позволяет получать изменение смещения на нём в 1 В на каждый миллиампер изменения тока стока U310. Итак, если мы примем ток нагрузки равным 100 мА, то cможем наблюдать ослабление шума, проследив за движением выходного шума напряжением в 1 мВ через петлю обратной связи. Ток нагрузки 100 мА протекает от источника напряжения + 12 В через нагрузку эквивалентную 120 Ом. 1 мВ шума эквивалентен всплескам тока 8,3 мкА. Этот ток протекает через МОП ПТ вместе с током нагрузки.
Предположим, что импульсы шума положительны по знаку. Этот шум увеличивает напряжение затвор-исток U310 на 1 мВ, ток стока этого транзистора падает, при этом на 10 мкА. Этот изменение тока, протекая через резистор 1 ком, включенный в цепь стока этого ПТ, даст уменьшение падения напряжения на нём на 10 мВ, которое является также уменьшением напряжения затвор-исток МОП ПТ и приведёт к уменьшению тока стока МОП ПТ на 37 мкА. Анализ показывает, что в цепи обратной связи существует усиление -4,45 (13 дБ), которое позволяет уменьшать любой шум на выходе БП. Не всякий шум уничтожается, но общий уровень шумов уменьшается, по крайней мере, на 13 дБ . Напряжение затвор-исток и усиление ПТ зависят от изменения температуры и от тока нагрузки. Например, проводимость МОП ПТ в 3,7S измерена при токе стока 7,2 А, длительности импульсов 300 мксек, при 2% рабочем цикле при напряжении на транзисторе 50 В. При меньших токах проводимость уменьшается и при токе нагрузки в 100 мА может быть меньше 1S. Тем не менее, этого достаточно, чтобы в цепи обратной связи оставалось некоторое усиление и устройство могло подавлять шум. Для большего усиления в петле обратной связи можно найти ПТ и с 30S, если хорошо поискать. U310 выступает здесь больше в роли элемента сравнения, чем просто усилителя, сравнивающего выходное напряжение с опорным и изменяющее смещение МОП ПТ, уравнивая, таким образом, оба (разница, из-за смещения ПТ, может достигать, однако, двух вольт). N–p-n транзисторы также будут хорошо работать в этой схеме, при этом выходное напряжение БП будет 9,4 В (ниже опорного, так как необходимо напряжение для открытия перехода база – эмиттер биполярного транзистора). При этом выходном напряжении работа усилителя мощности будет как и прежде (с МОП ПТ), но ослабление шумов возрастёт из-за большего усиления биполярного транзистора в схеме с общей базой, нежели усиление ПТ в схеме с общим затвором.
Выходное напряжение - главная причина, по которой здесь применяется МОП ПТ. ПТ с переходом (U310) обеспечивает выходное напряжение БП на 2 В выше опорного и на 3 В ниже входного нестабилизированного напряжения. В этом случае, МОП ПТ работает, как положено, только, если нет падения напряжения сток-исток U310, которое наступает при токе стока этого ПТ 3 мА (и менее). Так что получаются небольшие границы изменения тока стока этого ПТ в меньшую сторону. Версия МОП ПТ с меньшим напряжением смещения позволит эту границу отодвинуть. Либо - это, либо накиньте ещё для верности 1 В напряжения, про запас. N-p-n биполярный транзистор не влияет на необходимый запас в падении напряжения, но обеспечивает пониженное выходное напряжение БП. В этом случае, входное напряжение может быть уменьшено до 13 В и устройство будет работать. Это - главный недостаток усилителя мощности, приведённого на Рис. 1. Он работает в пределах рабочего падения напряжения между входом и выходом стабилизатора.
Другой проблемой является то, что выходное напряжение привязывается ко входному определённым соотношением, зависящим от типа усилителя мощности. Идеальный усилитель мощности не должен иметь таких ограничений да и не должен шуметь. Чтобы хотя бы приблизиться к идеалу, схемы приходится усложнять.
Например, заменим ПТ U310 дифференциальным усилителем, при этом уменьшится нагрузка выхода БП и вместо прямого соединения можно использовать делитель напряжения. Дифференциальный усилитель, к тому же, лучше использует имеющееся напряжение от нуля (точки соединения с корпусом) до почти полного напряжения источника питания.
Усиление дифференциального усилителя также может быть увеличено по сравнению с ПТ и вместо ПТ с переходом и n-p-n транзисторов можно использовать МОП ПТ, как это показано на Рис. 2.

Рис. 2.
Схема на Рис. 2. Работает следующим образом: источник эталонного напряжения LT1236-5 питается от параметрического стабилизатора напряжением 11,3 В, выполненного на источнике тока LM134 и стабилитронах. Соединённые последовательно диоды обеспечивают меньший температурный дрейф напряжения и если таковой не является определяющим, то цепочку стабилитронов можно заменить одним на напряжение стабилизации 11 В. Если очень хочется, то и источник тока можно заменить резистором. Резистор должен обеспечивать ток через стабилитроны 2,5 мА при самом низком входном напряжении. При самом высоком входном напряжении, естественно, через стабилитроны и резистор потечёт повышенный ток, так что, необходимо рассчитывать этот ток так, чтобы он не вышел за пределы максимально допустимого через стабилитроны и в результате, с падением напряжения на резисторе, не была превышена предельная мощность рассеяния на нём. Значения токов могут быть подобраны экспериментально (например, минимального тока через стабилитроны в 2, 5 мА может оказаться маловато).
Источник эталонного напряжения LT1236-5 выдаёт напряжение 5 В с малым содержанием шумов, которое через ФНЧ, состоящий из двух RC-секций (10 ком и 1 мкФ), поступает на затвор сдвоенного МОП транзистора. На другой затвор сдвоенного МОП транзистора (дифференциальной пары) поступает напряжение с резистивного делителя, подключенного к выходу БП. Эта схема позволяет повысить подавление шумов на выходе стабилизатора.
Соотношение сопротивлений Rx и любого Ry 1 : 2. Если падение напряжения на Rx равно 3,5 В, то и на каждом резисторе Ry падение должно составлять ту же величину. Напряжение затвор-исток у транзисторов дифференциальной пары имеет величину порядка логических уровней, так что они должны начинать проводить с напряжения затвор-исток порядка 1,5 В. Р-канальный МОП ПТ имеет стандартные параметры и начинает открываться при напряжении затвор-исток порядка 3,5 В. Цифры, конечно же не точные (примерные) и значения сопротивлений Rx и Ry подбираются при настройке готового устройства. Точное значение Ry определяется удалением Ry с правой стороны и заменой Rx на Ry и подбором сопротивления Ry, чтобы привести Р-канальный МОП ПТ в проводящее состояние с ожидаемым током нагрузки (например, от 100 мА до 5 А, сами выберете). Затем, Rx устанавливают точно половинной величины, а Ry справа перемыкают: этим устраняется эффект Миллера (повышает усиление) в дифференциальном усилителе.
Эта схема очень легко превращается в стабилизатор в минусовой цепи питания. Чтобы осуществить такое превращение, замените Р-канальный МОП ПТ IRF9530 на N-канальный IRF530, а IRF7103 - сдвоенный N-канальный – на сдвоенный Р-канальный IRF7342. Питание (смещение) LT1236-5 также сменится, чтобы его можно было использовать как эталонный источник отрицательного напряжения. Здесь уместно напомнить время от времени обращаться к паспортным данным на применяемые изделия электронной промышленности.
Стабилизатор с регулирующим элементом в цепи отрицательного напряжения показан на Рис. 3.

Рис. 3.
Источник эталонного напряжения работает здесь в качестве параметрического параллельного стабилизатора напряжения. В этом режиме LT1236-5 работать не может и заменён на LT1236-10, с его выхода через делитель опорное напряжение -5 В подаётся дальше.
Вот эта и была моей первой конструкцией. Я, возможно, добавлю к статье результаты её работы, если что-либо интересное выяснится.
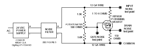
Что же самые малошумящие, выходит, МОП транзисторы и только их нужно применять в малошумящих стабилизаторах блоков питания? На Рис. 4 схема для исследования.

Рис. 4.
IRF9530 и резистор 150 Ом рассеивают достаточно большую мощность, так что считайте, что н е о б х о д и м о размещать их на подходящих радиаторах. Перед началом измерений установите потенциометр так, чтобы через резистор 150 Ом протекал ток в 100 мА (на нём 15 В). Дождитесь пока МОП ПТ достигнет температурного равновесия (рассеиваемая мощность на нём, при этом, составит примерно 0,9 Вт). После прогрева, так отрегулируйте потенциометр, чтобы ток (“убежавшее” при прогреве значение) через резистор 150 Ом снова составил 100 мА . Резистор постоянно рассеивает мощность 1,5 Вт. Начните с резистора в цепи истока в 1 Ом, если будет идти сильный дрейф, смените его на большее значение. Как только схема стабилизируется, не нужно будет подстраивать потенциометр, значит, пришло время измерять шум.
Чтобы измерить шум в схеме, сначала закоротите щупы прибора между собой и отметьте или компенсируйте собственные шумы, затем, закороченные щупы установите на общую точку источника питания (COMMON Рис. 4). Между двумя положениями щупов разницы в показаниях прибора быть не должно. Затем измерьте входной шум (INPUT NOISE), который должен быть очень низким. После этого измерьте шум на затворе, при этом, дайте успокоиться стрелке прибора (показаниям), поскольку касание щупами затвора вызывает скачок тока и необходимо, чтобы “система успокоилась”. Это возмущение повлияет и на температурную стабильность, но вскоре всё снова уравновесится.
Убедитесь, что ток через резистор в 150 Ом всё ещё остаётся равным 100 мА и, после, измерьте шум на стоке транзистора. Разница между шумами на затворе и стоке есть то, ради чего был затеян измерительный стенд. Пользуйтесь средне-квадратичными значениями (RMS) (действующими) напряжений шумов, так как форма и время действия их импульсов неизвестны, непредсказуемы. Это означает, что нужно взять большее значение напряжения, возвести в квадрат, затем, взять меньшее значение и сделать то же, после из большего вычесть меньшее и извлечь корень квадратный из разности - это и будет RMS значение шума вносимого МОП ПТ. Шум затвора - меньшее значение, шум стока - большее. Шум на затворе примерно равен таковому на входе, но может быть и немного выше, в силу процессов, происходящих в ПТ.
IRF530 может также быть проверен в схеме Рис. 4, если сменить полярность питающего напряжения. Обратите внимание, что в испытательной схеме МОП ПТ включены как источники тока. Тем же образом они и используются на Рис. 2 и 3.

Рис. 5.
На Рис. 5 показан довольно эффективный фильтр шумов для двухполярного источника питания, выполненный на базе двух источников питания для медицинской техники (один указан на Рис. 4). Медицинские приборы, как правило, имеют очень небольшие утечки в питающую сеть. Значения оксидных конденсаторов сменены, чтобы избежать низкочастотных резонансных явлений в фильтрах . Выходной шум этого фильтра следует измерять нагрузив каждую его ветвь сопротивлением 240 Ом с выхода на корпус. Резистор нагрузки симулирует действие измерительной схемы с Рис. 4.
Примечания к Рис. 5:
1 Не располагайте катушки индуктивности близко друг к другу, минимум два диаметра катушек.
2 Собирайте фильтр в вытянутой глухой металлической (стальной) коробке, располагая катушки в линию и максимально разнося вход и выход фильтра.
3 Лучшим корпусом для фильтра является глухая толстостенная стальная коробка с медным фольговым внутренним общим проводником для монтажа.
4 Лучшим общим проводом являются толстая медная шина и медная лента полдюймовой ширины.
Свободный перевод с английского: Виктор Беседин (UA9LAQ) ua9laq@mail.ru
г. Тюмень октябрь, 2002 г
| Глас народа |
|